UAEN
Будівництво та сервісне обслуговування АЗС
+38 044 3933473
зв'язок з нами

Алюмінієві та стальні клапани для аміаку

Алюмінієві та стальні клапани для аміаку 0Алюмінієві та стальні клапани для аміаку 1

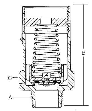
Призначені для використання як основні запобіжні клапани на контейнерах, що відповідають вимогам ASME, як наземних, так і підземних, а також на установках наливних станцій і резервуарах на рамах. Серія 3131 може також застосовуватися як основний або вторинний запобіжний клапан на балонах, що відповідають вимогам DOT, або як гідростатичний запобіжний клапан. Усі робочі компоненти цих запобіжних клапанів розташовані зовні з’єднання з контейнером, тому клапани необхідно захищати від механічних пошкоджень.

Особливості

  • Конструкція з «pop-action» мінімізує втрати продукту.
  • Запобіжний клапан автоматично й надійно повертається у вихідне положення після спрацювання.
  • Еластичний диск сідла забезпечує герметичне («bubble-tight») ущільнення.
  • Запобіжні клапани серії 3149 мають інтегрований адаптер для відведення потоку назовні з розривною канавкою, що захищає клапан від пошкоджень через напруження або ушкодження трубопроводу.
  • Додаткові адаптери для відведення потоку мають канавки, які розриваються при надмірному навантаженні, запобігаючи пошкодженню запобіжного клапана.
  • Запобіжні клапани серії 3149 оснащені дефлекторами контрольних отворів, що захищають від впливу полум’я на сусідні контейнери.
  • Більшість моделей мають сертифікацію ASME для застосування зі зрідженим нафтовим газом (LPG) та безводним аміаком.

Матеріали

Description AA3126, AA3130 AA3135 A3149
Корпус Алюміній* Верзня частина сталь, нинжня чавун
Направляюча   Нержавіюча сталь
Направляюча пружини Алюміній Нержавіюча сталь
Пружина Нержавіюча сталь Нержавіюча сталь або сталь із захисним покриттям
Диск ущільнення Синтетична гума

Інформація для замовлення

 

LLC "Bill-UPS"
Україна, Київ, вул. Сурикова 3 корп. 8 б