Серія ECL502 головним чином розроблена для підтримання необхідного системного тиску, оптимального для застосувань із кріогенними ємностями з азотом, киснем, аргоном та іншими газами. Вона забезпечує 100% покращення продуктивності порівняно з серією ECLXXX від RegO.
Економайзери серії ECL502 також демонструють відмінні характеристики при підтриманні тиску у паливних лініях LNG.
Особливості
Матеріали
• Корпус .....................................................................................Латунь
• Вкладиш діафрагми ...............................................................PTFE (тефлон)
• Сідло клапана (Poppet Seat) ................................................ Нержавіюча сталь
• Регулювальний гвинт ............................................................ Нержавіюча сталь
• Кришка (Bonnet) .................................................................... Латунь
• Сітка ....................................................................................... Monel
• Діафрагма .............................................................................. Бронза
• Пружини ................................................................................. Нержавіюча сталь

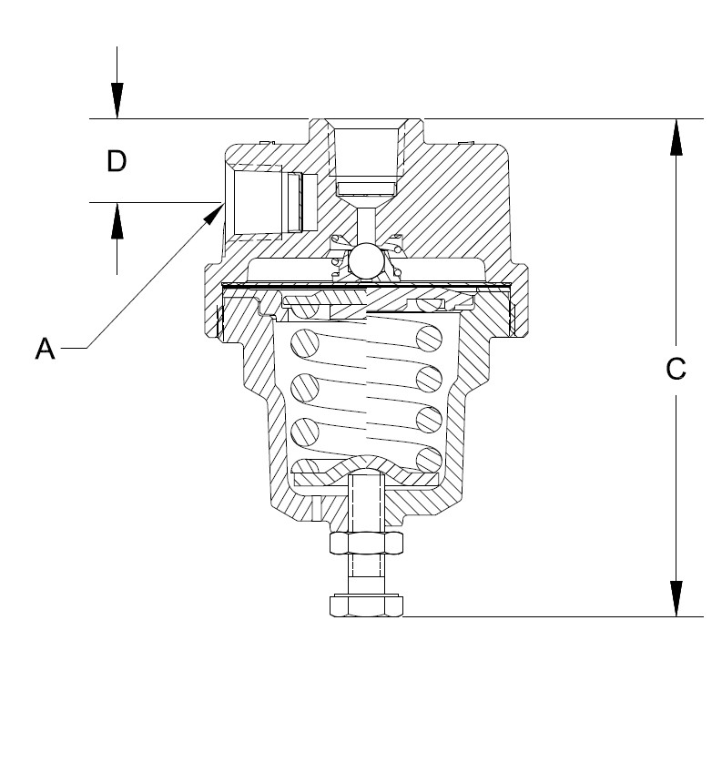
| Вхід/вихід (F.NPT) A | Ширина B | C | D | E | Діапазон регулювань (psig) | |
| ECL502-22 | ¼” NPT | 2.25” 57 mm |
3.5” 89 mm |
.58” 15 mm |
1” 25 mm |
10-60 psig 0.7 - 4.1 бар |
| ECL502-100 | 50 - 175 psig 3.4 - 12.1 бар |
|||||
| ECL502-123 | ||||||
| ECL502-140 | ||||||
| ECL502-175 | ||||||
| ECL502-325 | 150 - 350 psig 10.3 - 24.1 бар |
![]() |
![]() |
![]() |
![]() |