Особливості
• Усі деталі виготовлені з мідного сплаву (латуні), PTFE та нержавіючої сталі — матеріали підібрані спеціально для сумісності з кріогенними температурами до –320°F (–196ºC).
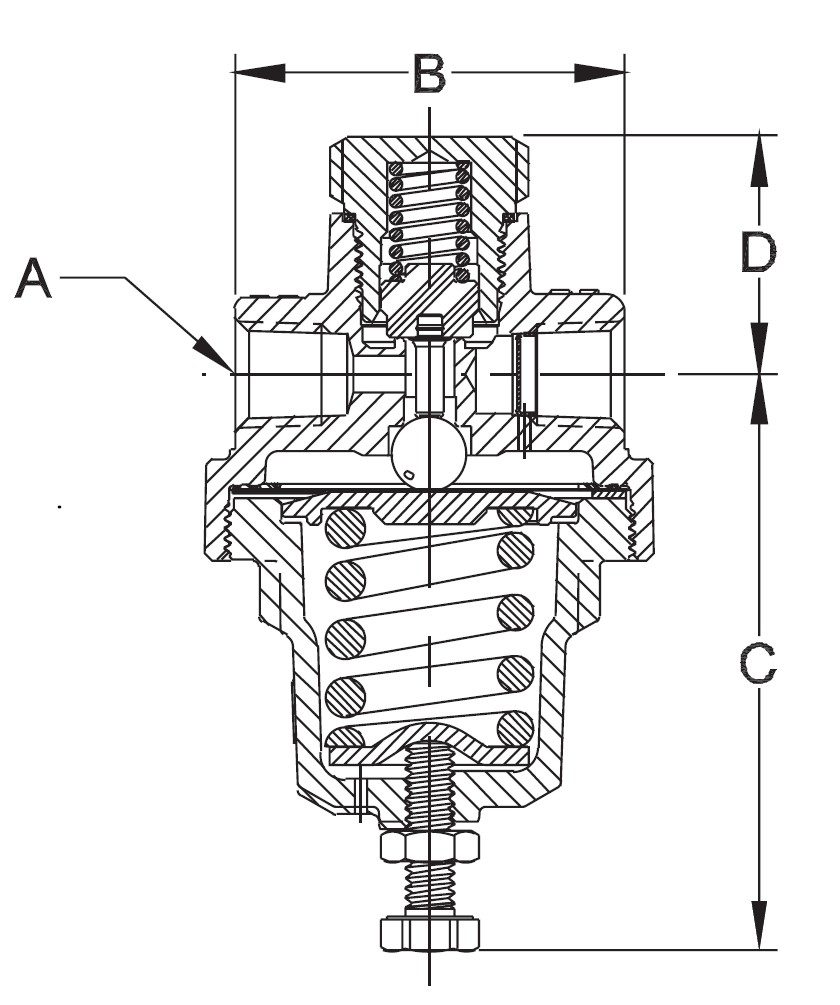
• Сідло з PTFE забезпечує надійне герметичне закриття при кріогенних температурах до –320°F (–196ºC).
• Регулятори високого та низького тиску (builder/economizer) мають однаковий компактний розмір, що дозволяє встановлювати їх у обмежених просторах.
• Взаємозамінні з існуючими кріогенними регуляторними вузлами.
• Вхідний фільтр запобігає потраплянню сторонніх частинок у регулятор.
• Передбачена стопорна гайка для збереження налаштувань регулювального гвинта.
• Максимальний тиск на вході — 550 psig (37,9 бар).
• Очищені для роботи з киснем відповідно до стандарту CGA G-4.1.
• 100% заводські випробування.
• Придатні для роботи з аргоном, CO₂, азотом та киснем.
Матеріали
• Корпус ......................................................................................... Латунь
• Кришка (Bonnet) ........................................................................ Латунь
• Диск сідла .................................................................................. PTFE (тефлон)
• Пружини ...................................................................... Нержавіюча сталь
• Прокладки .................................................................... PTFE та мідь
• Діафрагма ................................................................................ Бронза


| Код |
Різьба на вході/виході (F.NPT) |
“A” | “B” | “C” | “D” | Заводськй параметр тиску(psig) | Діапазон регулювань тиску (psig) |
| CBH502-015 | ¼” | ¼” | 1.97” | 2.89” | 1.19” | 15 psig(1.03 бар) | 10-60 psig (0.69-4.1 barg) |
| CBH502-125 | 125 psig(8.6 бар) | 50-175 psig (3.45-12.1 barg) | |||||
| CBH502-300 | 300 psig(20.7 бар) | 150-350 psig (10.3-22.4 barg) | |||||
| CBH502-315 | 315 psig(21.7 бар) | 150-350 psig (10.3-22.4 barg) | |||||
| CBH502-325 | 325 psig(22.4 бар) | 150-350 psig (10.3-22.4 barg) | |||||
| CBH502-350 | 350 psig(24.1 бар) | 150-350 psig (10.3-24.1 barg) | |||||
| CBC502-015 | 15 psig(1.03 бар) | 10-60 psig (0.69-4.1 barg) | |||||
| CBC502-125 | 125 psig(8.6 бар) | 50-175 psig (3.45-12.1 barg) | |||||
| CBC502-300 | 300 psig(20.7 бар) | 150-350 psig (10.3-22.4 barg) | |||||
| CBC502-325 | 325 psig(22.4 бар) | 150-350 psig (10.3-22.4 barg) | |||||
| CBC502-350 | 350 psig(24.1 бар) | 150-350 psig (10.3-22.1 barg) |
![]() |
![]() |
![]() |
![]() |